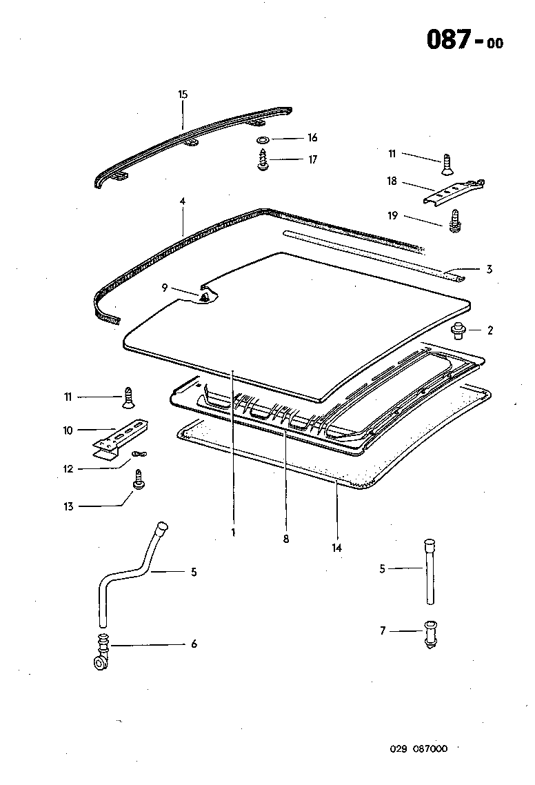
Hej!
Håller på och renovera ett ärvt soltak och upptäckt att en 'guide' saknas på ena sidan. Någon som har en över?
Del 18 i skissen nedan.
Mvh Josef
Du är inte inloggad. Logga in eller registrera dig.
Boxerville » Delar köpes » Detalj till soltak sökes
Sidor 1
Du måste logga in eller registrera för att svara
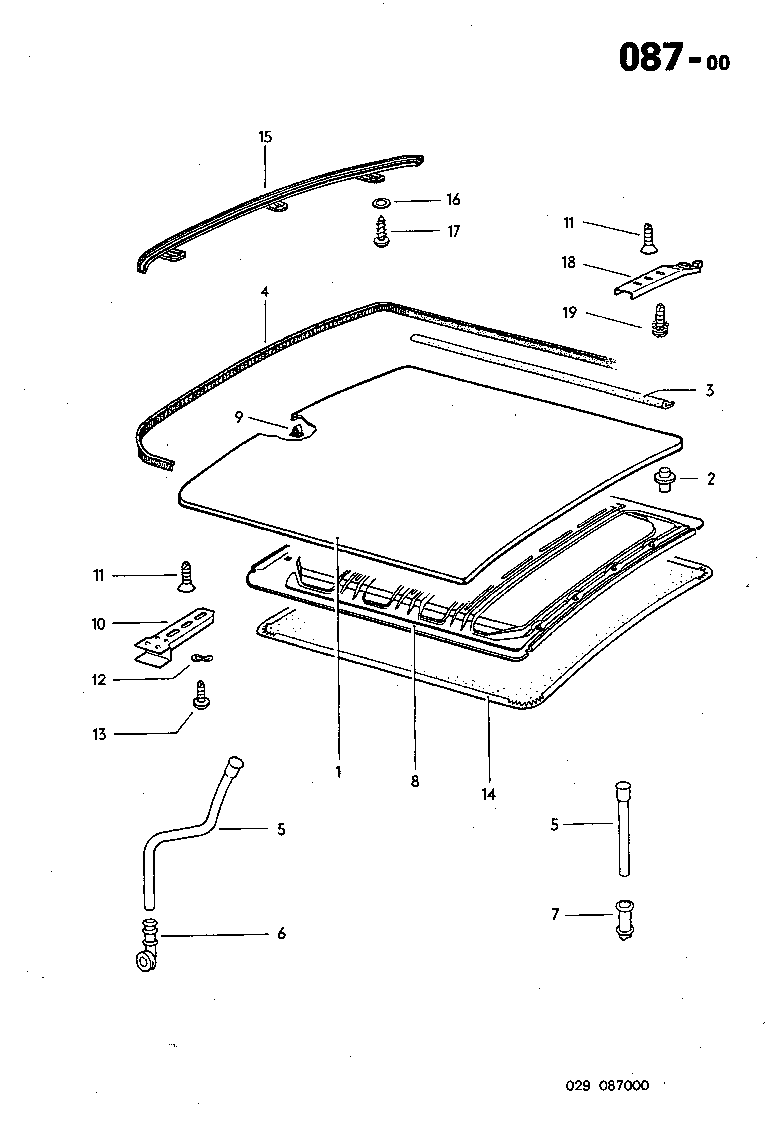
Hej!
Håller på och renovera ett ärvt soltak och upptäckt att en 'guide' saknas på ena sidan. Någon som har en över?
Del 18 i skissen nedan.
Mvh Josef
Sidor 1
Du måste logga in eller registrera för att svara
Boxerville » Delar köpes » Detalj till soltak sökes
Currently installed 2 official extensions. Copyright © 2003–2009 PunBB.